Uwaga. Tylny i środkowy tłumik układu wydechowego są zespawane ze sobą, ale każdy z nich można wymienić osobno.
Umieścić pojazd nad kanałem inspekcyjnym lub na podnośniku.
Zdejmij dolną osłonę przeciwbryzgową komory silnika.
Samochody z silnikiem diesla V6
Aby uzyskać dostęp do kołnierza łączącego kolektor wydechowy z turbosprężarką, należy zdjąć górną pokrywę silnika.
Odkręć śruby i zdejmij osłonę cieplną turbosprężarki (patrz 4D.9).

Nasmaruj nakrętki i śruby elementów układu wydechowego środkiem odrdzewiającym i odczekaj jakiś czas, aż rdza zostanie całkowicie usunięta.
Samochody z silnikami benzynowymi, z wyjątkiem silników o mocy 125 KM.
Odłączyć złącze elektryczne sondy lambda znajdujące się na grodzi komory silnika. W samochodach z silnikami sześciocylindrowymi występują 2 sondy lambda.
Odkręć rurę wydechową od kolektora wydechowego i od spodu turbosprężarki.
Aby zapobiec wypadnięciu układu wydechowego, należy przymocować go do nadwozia za pomocą miękkiego drutu. Jeżeli układ wydechowy spadnie, katalizator może ulec uszkodzeniu.
Samochody z silnikiem benzynowym 1.8-I
Odkręć rurę wydechową od wspornika skrzyni biegów.
Podtrzymując układ wydechowy, odłącz go od mocowań zawieszenia i wyjmij spod pojazdu.
Instalacja
Aby później łatwiej odkręcić nakrętki i śruby mocujące układ, należy je nasmarować pastą wysokotemperaturową Liqui Moly LM-508-ASC.
Przed ponownym zamontowaniem elementów układu wydechowego należy oczyścić połączenia papierem ściernym, aby usunąć resztki uszczelniacza i rdzę.
Uwaga. Zawsze wymieniaj uszczelki i nakrętki samokontrujące.
Samochody z silnikiem benzynowym 1.8-I
Przykręć rurę wydechową do wspornika skrzyni biegów.
Podłącz rurę dolotową spalin do środkowego tłumika za pomocą podwójnej obejmy, ustawiając ją tak, aby dolna krawędź śruby mocującej obejmę znajdowała się na poziomie rury gaśnicy (patrz 4D.11). Śruby powinny znajdować się po lewej stronie rury. Na tym etapie nie dokręcaj jeszcze śrub całkowicie.

Za pomocą podwójnego zacisku połącz tłumik środkowy z tylnym i wyrównaj je względem siebie.
Zamontuj elementy układu wydechowego w gumowych mocowaniach zawieszenia, ale na tym etapie nie dokręcaj jeszcze śrub mocujących.
Przykręć kolektor wydechowy do kolektora wydechowego i dolnej części turbosprężarki, upewniając się, że uszczelka jest prawidłowo osadzona
Wyrównaj elementy układu wydechowego i sprawdź, czy układ jest zamontowany swobodnie, bez naprężeń, a odstęp od elementów nadwozia wynosi co najmniej 25 mm.
Samochody z silnikiem o mocy 125 KM.
Wytworzyć naprężenie wstępne poprzez przesunięcie środkowego tłumika do przodu o 7-9 mm (patrz 4D.12) i zabezpiecz go w tej pozycji. Jest to konieczne, aby w przypadku wystąpienia rozszerzalności cieplnej spowodowanej nagrzewaniem, układ wydechowy znalazł się w prawidłowej pozycji.

Przesuń tylny tłumik do przodu o 12-14 mm (patrz 4D.13) i zabezpiecz go w tej pozycji.

Sprawdź i w razie potrzeby wyreguluj odległość między tylną krawędzią rury wydechowej a zderzakiem, która powinna wynosić co najmniej 40 mm (patrz 4D.14).

Na koniec dokręć wszystkie śruby i nakrętki mocujące elementy układu wydechowego.
Momenty dokręcania
- Kolektor wydechowy do głowicy cylindra - 25 Nm.
- Zaciski podwójne - 40 Nm.
Silnik sześciocylindrowy
- Rura dolotowa spalin do kolektora wydechowego - 25 Nm.
- Pozostałe połączenia kołnierzowe - 30 Nm.
- Sonda lambda do katalizatora - 50 Nm.
Silnik 1.8-I
- Rura wlotowa wydechu do wspornika skrzyni biegów - 25 Nm.
Zamontuj dolną osłonę przeciwbryzgową komory silnika.
Samochody z silnikami benzynowymi, z wyjątkiem silników o mocy 125 KM.
Przykręć sondę lambda i podłącz jej złącze elektryczne.
Samochody z silnikiem diesla V6
Zamontuj i przykręć osłonę cieplną turbosprężarki. Zamontuj i zabezpiecz pokrywę silnika.
Rysunek 4D.3. Układ wydechowy w samochodach AUDI A6 z napędem na przednie koła i silnikiem benzynowym 1.8-I
1 - nakrętka, 25 Nm,
2 - kolektor wydechowy (silnik AJP),
3 - sonda lambda, 50 Nm,
4 - uszczelka,
5 - rura wlotowa spalin,
6 - nakrętka, 30 Nm,
7 - nakrętka, 25 Nm,
8 - katalizator,
9 - poduszka zawieszenia,
10 - uchwyt zawieszenia,
11 - śruba, 25 Nm,
12 - tłumik dodatkowy,
13 - odległość (a = 7-9 mm) wstępnego napięcia układu wydechowego w stanie zimnym,
Strzałka wskazuje kierunek ruchu,
14 - miejsce podłączenia rury wydechowej,
15 - tłumik centralny,
16 - zacisk podwójny, 40 Nm,
17 - miejsce podłączenia rury wydechowej,
18 - tłumik środkowy,
19- zawieszenie,
20 - rura wlotowa spalin,
21 - katalizator,
22 - podkładka.
Rysunek 4D.4. Układ wydechowy w samochodach AUDI A6 z napędem na przednie koła i silnikiem wysokoprężnym 1.9-I-TDI o mocy 110 KM i pojazdów z napędem na wszystkie koła
1 - tłumik dodatkowy,
2 - tłumik środkowy,
Przy wymianie tłumika, cięcie należy wykonać w odległości 140-150 mm przed tłumikiem środkowym.
3 - poduszka zawieszenia,
4 - śruba, 25 Nm,
5 - poduszka zawieszenia,
6 - zacisk podwójny, 40 Nm,
7 - rura pośrednia,
8 - nakrętka, 25 Nm,
9 - turbosprężarka,
10 - uszczelka,
11 - katalizator,
12 - śruba, 25 Nm,
13 - uszczelka,
14 - nakrętka, 25 Nm
Rysunek 4D.5. Układ wydechowy w samochodach AUDI A6 z napędem na przednie koła i silnikiem wysokoprężnym V6
1 - katalizator,
2 - zacisk podwójny,
3 - nakrętka, 40 Nm,
4 - poduszka zawieszenia,
5 - poduszka zawieszenia,
6 - nakrętka, 25 Nm,
7 - tłumik tylny,
8 - zacisk podwójny,
9 - nakrętka, 40 Nm,
10 - tłumik,
11 - zawieszenie,
12 - śruba, 25 Nm,
13 - śruba, 25 Nm,
14 - poduszka zawieszenia,
15 - śruba, 25 Nm,
16 - uszczelka,
Podczas montażu należy zastosować nową uszczelkę.
17 - turbosprężarka,
18 - nakrętka, 25 Nm.
Rysunek 4D.6. Kolektory wydechowe i rury wydechowe w samochodach AUDI A6 z silnikiem benzynowym V6
1 - tuleja,
2 - śruba,
3 - podkładka,
4 - wspornik,
5 - tuleja,
6 - tuleja gumowa,
7 - nakrętka, 25 Nm,
8 - wiosna,
9 - śruba, 25 Nm,
10 - do tłumików środkowych,
11 - rura wydechowa lewa z katalizatorem,
12 - sonda lambda nr 2, 50 Nm,
13 - 4-stykowe czarne złącze elektryczne,
14 - nakrętka, 25 Nm,
15 - kapturek, 10 Nm,
16 - rura odgałęźna,
17 - osłona termiczna górna,
18 - dolna osłona termiczna,
19 - kolektor wydechowy lewy,
20 - uszczelka,
Podczas montażu należy zastosować nową uszczelkę.
21 - kolektor wydechowy prawy,
22 - czujnik tlenu nr 1, 50 Nm,
23 - prawa rura dolotowa z katalizatorem.
Rysunek Rysunek 4D.7. Tłumik środkowy i tylny w samochodach AUDI A6 z napędem na przednie koła i silnikiem benzynowym V6
1 - nakrętka, 40 Nm,
2 - z katalizatora,
3 - śruba,
4 - zacisk podwójny,
5 - śruba, 25 Nm,
6 - poduszka zawieszenia,
7 - tłumik środkowy,
8 - uchwyt zawieszenia,
9 - poduszka zawieszenia,
10 - tłumik tylny,
11 - zacisk podwójny,
13 - tłumik.
Notatka. Tylny tłumik w pojazdach z napędem na cztery koła jest podobny do tłumika pokazanego na rysunek 4D.8.
Rysunek 4D.8. Układ wydechowy w pojazdach z napędem na cztery koła AUDI A6
1 - nakrętka, 25 Nm,
2 - poduszka zawieszenia,
3 - nakrętka, 40 Nm,
4 - śruba,
5 - zacisk podwójny, 40 Nm,
6 - miejsce cięcia rury,
7 - tłumik tylny prawy,
8 - poduszki zawieszenia,
9 - uchwyty zawieszenia,
10 - tłumik tylny lewy,
11 - rura łącząca,
12 - uszczelka,
13 - katalizator,
14 - turbosprężarka,
15 - zacisk podwójny, 40 Nm,
16 - tłumik środkowy.
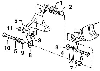
Rysunek 4D.10. Części wspornika rury wlotowej wydechu
1 - bufor,
2 - tuleja,
3 - podkładka,
4 - nakładka prawa,
5 - podkładka,
6 - śruba,
7 - tuleja,
8 - nakładka lewa,
9 - wiosna,
10 - śruba,
11 - nakrętka samokontrująca, 25 Nm.

Komentarze gości