Uklanjanje
1. Odspojite negativni (-) kabel akumulatora.
Upozorenje: Slijedite upute u odjeljku Zamjena baterije.
2. Uklonite poklopce motora, pogledajte odjeljak Uklanjanje i postavljanje gornjeg poklopca motora/donje zaštite prostora motora/podokvira.
3. Odvijte pričvrsne matice turbopunjača.
4. Uklonite sve spojne vijke motora/mjenjača koji su dostupni odozgo.
5. Postavite prečku i pričvrstite motor.

Oprez: Dovod goriva je pod pritiskom! Prije otvaranja priključka crijeva pokrijte ga debelom tkaninom. Zatim otpustite tlak pažljivim odvajanjem crijeva.
6. Podignite i postavite vozilo na postolje.
7. Modeli s pomoćnim grijanjem: Uklonite vijke koji pričvršćuju izlaznu cijev dodatnog/pomoćnog grijanja na donji poklopac odjeljka motora.
8. Otpustite pričvrsne vijke i uklonite donji držač poklopca odjeljka motora (strelica).
9. Uklonite toplinski štit preko desnog pogonskog vratila.
10. Otpustite pričvrsne vijke i uklonite lijevi i desni poklopac (strelice) ispušne cijevi.
11. Uklonite poprečni nosač prednjeg tunela (1) (strelice na priloženoj ilustraciji).

12. Uklonite usisnu cijev (3) s priključne čahure (2), pogledajte Dio Ispušni sustavi i sustavi za kontrolu emisije. Turbopunjač.
13. Uklonite toplinski štit (4) preko ispušnog sustava.
14. Uklonite donje spojne vijke motora/mjenjača (strelice na priloženoj ilustraciji).

15. Odvojite obje pogonske osovine na prirubnicama i zavežite ih žicom, pogledajte odjeljak Uklanjanje i postavljanje pogonske osovine.
Upozorenje: Pazite da ne oštetite zaštitni premaz na pogonskim vratilima prilikom odvrtanja.
16. Uklonite starter, ali nemojte odspajati kabel sa startera. Pričvrstite starter na tijelo žicom.
17. U servisu je mjenjač fiksiran i poduprt VAG dizalicom. Ako navedeni lift nije dostupan, ispod mjenjača postavite garažni lift sa širokom drvenom podlogom i lagano podignite mjenjač.
18. Prvo uklonite vijke (2), a zatim vijke (3) na poprečnom nosaču tunela. Odvijte obje matice (4), uklonite poprečni nosač tunela.

19. Pažljivo spustite dizalicu s motorom/mjenjačem tako da mjenjač bude vidljiv. Uklonite dizalicu.
20. Uklonite vijak (A) koji pričvršćuje šipku za mjenjač i odvojite zglob mjenjača od osovine.

21. Odvojite potisnu polugu odvrtanjem imbus vijka (B) na mjenjaču.
22. Uklonite konektor (1), ako postoji, iz držača (strelica na priloženoj ilustraciji). Odspojite konektor i pomaknite kabel u stranu.

23. Odvojite konektor (A) senzora tahometra i (B) svjetla za vožnju unatrag na lijevoj strani mjenjača.

24. Odvojite osjetnik brzine motora, ako postoji, na lijevoj strani mjenjača (strelica na priloženoj ilustraciji) i odnesite ga na stranu.

25. Uklonite donje spojne vijke motora/mjenjača, ali ne i vijke (A) i (B).

26. Postavite odgovarajući lift ispod mjenjača i učvrstite mjenjač pločom za podešavanje.
27. Uklonite preostale spojne vijke motora/mjenjača (A) i (B).
28. Odmaknite mjenjač od motora i polako ga spustite.
Montaža
Oprez: Prilikom zamjene dijelova ili vijaka koji se montiraju na mjenjač, imajte na umu sljedeće: Kućište mjenjača izrađeno je od legure magnezija ili aluminija. U skladu s tim koriste se određeni ugrađeni dijelovi, poput poklopca i vijaka. Ako su aluminijski dijelovi mjenjača ugrađeni na kućište od legure magnezija, ono će biti podložno koroziji. Ovo se također odnosi na pričvrsne vijke prirubnice motora/mjenjača. Imaju poseban premaz za kućište mjenjača od legure magnezija. Znak mjenjača izrađenog od legure magnezija je natpis "Mg AL 9 Zn 1" na dnu mjenjača iu području čepa za punjenje ulja.
1. Prije ugradnje provjerite kvačilo, pogledajte odjeljak Skidanje, ugradnja i provjera kvačila.
2. Očistite nazubljeni spoj ulaznog vratila i lagano ga podmažite MoS 2 AUDI-G000100 mašću.
Oprez: pogonski disk kvačila mora lako stati na ulaznu osovinu mjenjača. Uklonite višak masnoće.
3. Očistite sve rupe s navojem u koje su uvrnuti samosigurnosni vijci pomoću slavine od ostataka brtvila. Obavezno zamijenite samosigurnosne vijke i matice novima.
4. Provjerite istrošenost ležaja za otpuštanje spojke i zamijenite ga ako je potrebno. Ako plastični ležaj ima utore dublje od 0,5 mm, ležaj se mora zamijeniti.
5. Podmažite spojnu površinu potisne šipke na poluzi ležaja za otpuštanje kvačila bakrenom mašću, kao što je, "Z381 351 TE".
6. Provjerite jesu li čahure za centriranje spoja motor/mjenjač u bloku cilindra na svom mjestu, umetnite ih;.
7. Osigurajte da je međuploča na motoru, ako postoji, ispravno postavljena.
8. Vodoravno uključite mjenjač. Ako tijekom ugradnje ulazna osovina mjenjača ne uđe u pogonski disk, okrenite osovinu rukom za prirubnicu.
9. Ugradite pomoćni cilindar kvačila s držačem. Pomoću šipke za hvatanje umetnite cilindar tako da se vijak za pričvršćivanje može lako umetnuti. Zategnite vijak zakretnim momentom25 Nm.
10. Ponovno instalirajte starter, pogledajte odjeljak Uklanjanje i ugradnja startera.
11. Uvrnite donje vijke (A) za pričvršćivanje motora s mjenjačem i (B) za pričvršćivanje startera.

12. Spustite sklop motor/mjenjač.
13. Zategnite gornje pričvrsne vijke motora/mjenjača na navedeni moment.
14. Pričvrstite poprečni nosač tunela na nosač mjenjača (1).
15. Pričvrstite poprečni nosač tunela na tijelo. Prvo zavrnite vijak (2), a zatim vijak (3).

16. Zategnite 3 vijka za pričvršćivanje motora i mjenjača odozdo do zakretnog momenta od 45 Nm.

17. Postavite polugu mjenjača na mjesto. Pričvrstite ga zakretnim momentom od 20 Nm.
18. Ugradite potisnu šipku i zategnite je momentom od 40 Nm.

19. Ugradite pogonska vratila i štit vratila, pogledajte odjeljak Uklanjanje i postavljanje pogonske osovine.
20. Spojite sve prethodno odspojene konektore.
21. Prilikom izvođenja električnih spojeva, osigurajte da su sve stezaljke uklonjene ili odrezane tijekom rastavljanja postavljene na svoja izvorna mjesta.
22. Ugradite toplinski štit ispušne cijevi. Ugradite odvodnu cijev i ugradite ispušni sustav, pogledajte odjeljak Demontaža i montaža ispušnog sustava. Zamjena centralnog, dodatnog auspuha, krajnje cijevi.
23. Provjerite podešavanje pogona mjenjača, pogledajte odjeljak Podešavanje pogona mjenjača.
24. Provjerite razinu ulja u mjenjaču, pogledajte odjeljak Provjera razine ulja u ručnom mjenjaču.
25. Spojite negativni (-) kabel akumulatora.
Upozorenje: Slijedite upute u odjeljku Zamjena baterije.
Momenti pritezanja za navojne spojeve

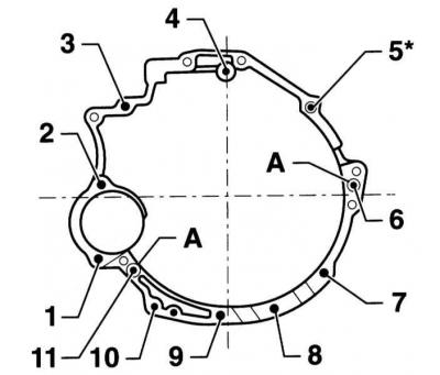
Vijci za pričvršćivanje motora/mjenjača. Motori 1.6, 1.8, 1.9, 2.0 l
|
Položaj |
Vijak |
Trenutak zatezanje |
|
Motori 1.6, 2.0 l |
||
|
1, 3, 4 |
M12 x 75 |
65 Nm |
|
2 |
M12 x 90 |
65 Nm |
|
5, 11 |
M12 x 110 |
65 Nm |
|
7-10 |
M10 x 45 |
45 Nm |
| 11 | M12 x 130 | 65 Nm |
|
A |
Centrirajuće čahure | |
|
Motori 1.8, 1.9 l: |
||
| 1, 3, 4 | M12 x 67 | 65 Nm |
| 2, 6 | M12 x 90 | 65 Nm |
| 5, 11 | M12 x 110 | 65 Nm |
| 7-11 | M10 x 45 | 45 Nm |
|
A |
Centrirajuće čahure | |

Vijci za pričvršćivanje motora/mjenjača. Motori 2.4, 3.0 l
|
Položaj |
Vijak |
Moment pritezanja |
|
Motor 2,4 l |
||
|
1, 9, 10, 11 |
M10 x 45 |
45 Nm |
|
2 |
M10 x 135 |
65 Nm |
|
3 |
M12 x 130 |
65 Nm |
|
4, 5, 6 |
M12 x 67 |
65 Nm |
| 7 | M12 x 90 | 65 Nm |
| 8 | M12 x 80 | 65 Nm |
| A | Centrirajuće čahure | |
| Motor 3.0 l | ||
| 1, 9, 10, 11 | M10 x 60 | 45 Nm |
| 2 | M10 x 150 | 65 Nm |
| 3 | M12 x 130 | 65 Nm |
| 4 | M12 x 80 | 65 Nm |
| 5, 6, 8 | M12 x 90 | 65 Nm |
| 7 | M10 x 100 | 45 Nm |
| A | Centrirajuće čahure | |

Montažni vijci nosača motora/šipke stabilizatora
- 1 — Stabilizator (2) na potpornu konzolu motora 25 Nm
- 3 — Potpora motora prema potpornoj konzoli motora 25 Nm
Oprez: Matice (1) moraju se zamijeniti.
(Izvorni izvor članka može se pronaći na web stranici: Audimanual.ru)
