Съдържание: Активен спирачен усилвател ↓ Използван ABS с EDS/ASR/ESP J104 ↓ Реле за спирачни светлини J508 ↓ Сензор за ъгъл на волана G85 ↓ Сензор за странично ускорение G200 ↓ Сензор за скорост на отклонение G202 ↓ ASR ключ E256 ↓ Нов активен ABS сензор ↓ Принцип на действие на активен сензор ↓
Активен спирачен усилвател

В допълнение към обичайната си задача да увеличава силата, приложена към педала на съединителя посредством вакуума, създаден от всмукателния колектор или вакуумната помпа, усилвателят на спирачките също създава предварителното налягане, необходимо за работата на ESP. Необходимостта от предварително налягане се дължи на факта, че връщащата помпа не винаги има достатъчно мощност, за да създаде необходимото налягане поради високия вискозитет на спирачната течност при ниски температури. Когато системата ESP трябва да се активира, контролният блок сигнализира на соленоидната бобина да премести металната сърцевина напред и да отвори клапаните вътре в клапанния възел. В този случай, както при натискане на педала на спирачката, налягането в камера 1 се увеличава поради получената връзка с атмосферата (все още има вакуум в камера 2), в същото време усилвателят създава налягане в спирачната система, което се управлява от два сензора.

Сензор 1 (G201) и сензор 2 (G204) се дублират един друг, за да осигурят максимална надеждност. Това са капацитивни сензори под формата на пластинчати кондензатори. Когато подвижната плоча е изложена на налягането в спирачната система, разстоянието между двете плочи намалява и капацитетът на кондензатора се увеличава. Промяната в капацитета е право пропорционална на промяната в налягането и се използва за изчисляване на спирачните сили и контрол на изпомпването.
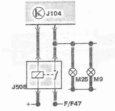
Използван ABS с EDS/ASR/ESP J104

Използваният ABS/EDS 3104 е комбиниран в едно цяло с хидравличен блок. И двата модула могат да се сменят поотделно, без да се демонтира целият модул.
Задачи: управление на функциите ESP, ABS, EDS, ASR, EBV и MSR; непрекъснат мониторинг на всички електрически компоненти; помощ при диагностика по време на ремонт.
Реле за спирачни светлини J508

Когато системата ESP активира соленоидната бобина, педалът на спирачката може да се движи достатъчно, за да затвори превключвателя на спирачната светлина. За да не заблуждавате отново другите участници в движението, по време на включена електромагнитна бобина, реле 3508 отваря връзката със светлините.
Сензор за ъгъл на волана G85

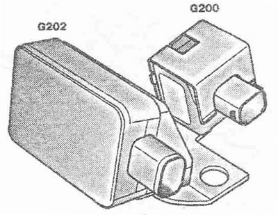
Спиралният кабел на модула на контактния пръстен свързва контролния блок на въздушната възглавница и модула на въздушната възглавница във волана. Сензорът за ъгъл на волана G85 също е монтиран в корпуса на модула на контактния пръстен. Той предава информация за стойността на ъгъла на завиване към контролния блок 3104 чрез CAN шината. След смяна на кабела на бобината на въздушната възглавница/сензора за ъгъл на завиване трябва да се извърши основна инсталация. Сензорите G200 и G202 са монтирани на обща скоба, която се намира близо до центъра на тежестта на автомобила, в тунела между централната конзола и преградата на двигателното отделение.
Сензор за странично ускорение G200

Измерва странично ускорение.
Сензор за скорост на отклонение G202
Измерва ъгъла на отклонение на автомобила (ъгъл на завъртане около вертикалната ос). Сигналите от двата сензора се изискват от управляващия блок J104 за определяне на действителното състояние на автомобила. Те се използват за изчисляване на стойностите на управляващите действия, необходими за осигуряване на адекватна стабилност на превозното средство.
ASR ключ E256


При Audi A2 няма опция за деактивиране на ESP. ASR може да се изключи с помощта на ключа (със скорост 50 км/ч).
Нов активен ABS сензор

Сензорът се нарича активен, когато изисква външно захранване за своята работа. Активният сензор за скорост има магниторезистивен елемент, чието съпротивление се променя в зависимост от магнитните силови линии, образувани от пистата на задвижващия ротор на сензора. Задвижващият ротор на сензора е монтиран на главината на колелото и се състои от писта с чувствителни секции, намагнетизирани в противоположни посоки. Пръстенът се върти пред неподвижен чувствителен елемент.
Принцип на действие на активен сензор

В непосредствена близост до магнетизираната зона магнитните силови линии са разположени перпендикулярно на пистата. В зависимост от полюса, обърнат към сензора, те са насочени към сензора или встрани от него. Тъй като разстоянието между пистата и сензора е много малко, силовите линии преминават през чувствителния елемент и променят неговото съпротивление. Електронният усилвател/задействаща верига, вградена в сензора, преобразува промените в съпротивлението в токове на две различни нива. Тоест, когато съпротивлението на чувствителния елемент се увеличи под действието на магнитни силови линии, преминаващи през него, токът пада. Когато посоката на силовите линии се обърне и съпротивлението намалее, токът се увеличава. Тъй като северният и южният полюс, обърнати към сензора на въртящата се писта, постоянно се сменят един друг, се формира периодичен правоъгълен сигнал, чиято честота е пропорционална на честотата на въртене на колелото.
Предимства: Скоростта на колелото може да се измерва във всеки диапазон от 0 км/ч. Разпознава се посоката на въртене на колелото. Висока устойчивост на корозия. Компактност.

Коментари на посетители