Wyjmowanie
Za pomocą farby zaznacz położenie tylnych kół względem piast. Jest to konieczne, aby ustawić koła w ich pierwotnym położeniu, dzięki czemu zachowana zostanie ich równowaga. Po ustawieniu pojazdu na kołach poluzuj śruby mocujące tylne koła, a następnie podnieś pojazd, odkręć śruby i zdejmij tylne koła.
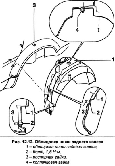
Odkręć śruby 2 (rysunek 12.12) i nakrętkę kołpakową 4.

Zdejmij osłonę tylnego nadkola spod nadkola.
Instalacja
Nanieś cienką warstwę smaru na kołnierz piasty, który centruje tarczę koła. Zamontuj koło zgodnie z wcześniej naniesionymi oznaczeniami i zabezpiecz je śrubami. Opuść pojazd i dokręć śruby kół momentem 120 Nm.

Komentarze gości