Инструкции. Системата за рециркулация на отработените газове се управлява от блока за управление на двигателя чрез клапана за рециркулация на отработените газове "N18" към механичния клапан за рециркулация на отработените газове. EGR се изключва на празен ход след приблизително 2 минути. За допълнително подобряване на състава на отработените газове системата за рециркулация на отработените газове е оборудвана с радиатор, през който протича охлаждащата течност. Потокът от рециркулирани отработени газове в горивната камера преминава през този радиатор. По този начин може да се намали температурата на отработените газове, което от своя страна намалява температурата в горивната камера и води до подобряване на състава на отработените газове.
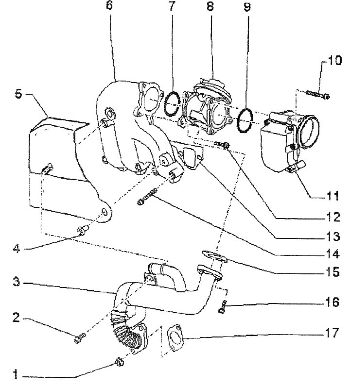
Система за рециркулация на отработените газове (aTL двигатели):
1. Ядка. 22 Нм
2. Болт. 20 Нм
3. Радиатор система за рециклиране ОГ
4. Скоба за монтаж на топлинен щит
5. Топлинен щит
6. Всмукателен колектор
7. Уплътнителен пръстен. Сменете
8. механичен клапан за рециркулация на отработените газове. Проверете
9. Уплътнителен пръстен. Сменете
10. Болт. 10 Нм
11. Монтаж на всмукателния колектор с двигател на клапата на всмукателния колектор "VI57"
12. Болт. 10 Нм
13. Полагане на смукателната тръба. Сменете. Монтажна позиция: напречна греда обърната нагоре
14. Болт. 22 Нм
15. Уплътнение. Сменете
16. Болт. 22 Нм
17. Уплътнение. Сменете

Коментари на посетители