Оглавление: Снятие ↓ Установка ↓

- 1 — Клеммная гайка, 4 шт.
- 2 — Винт, 4 шт.
- 3 — Винт, 2 шт.
- 4 — Декоративная планка
- 5 — Крышка
- 6 — Винт
- 7 — Разжимная гайка, 4 шт.
- 8 — Облицовка двери
Снятие
1. Откройте дверь. Извлеките крышку (5) из подлокотника и выверните 2 винта (3).
2. Выверните винт (6), отсоедините от облицовки (8) декоративную планку (4) и снимите её вперед.
3. Выверните 4 винта (2). Введите в районе зажимов между панелью двери и облицовкой пластмассовый клин и отсоедините облицовку (8).
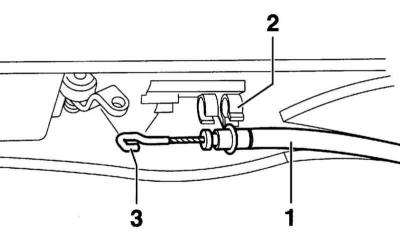
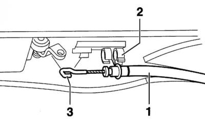
4. Немного отсоедините облицовку израмы двери, вытяните трос (1) привода двери из направляющей (2) и отсоедините его.

5. Отсоедините отрицательный кабель (-) аккумуляторной батареи.
Предостережение: Соблюдайте указания Раздела Замена аккумуляторной батареи.
6. Рассоедините разъём блока управления стеклоподъёмником.
7, Рассоедините разъём громкоговорителя.
8, Снимите облицовку с рамы двери.
Установка
1. Перед установкой проверьте правильность положения зажимных гаек (1) и разжимных гаек (7) на раме двери, обратитесь к иллюстрации Облицовка передней двери.
2. Установка выполняется в последовательности, обратной снятию. При этом обратите внимание на то, что крючок (3) тяги показывает наверх.

3. Присоедините отрицательный кабель (-) аккумуляторной батареи.
Предостережение: Соблюдайте указания Раздела Замена аккумуляторной батареи.
[Оригинальная версия статьи размещена на сайте: AudiManual.ru]
