43.1. Дэталі ўстаноўкі махавік і сальнікаў каленчатага вала 1. Трымальнік сальніка 3; 2. Ніт мацавання трымальніка 1; 3. Пярэдні сальнік каленчатага вала; 4. Паддон картара; 5. Болт мацавання паддона 4; 6. Картэр рухавіка; 7. Махавік; 8. Болт мацавання махавіка, падлягае замене; 9. Прамежкавая пласціна; 10. Болт мацавання вечка 11, 15 Нм; 11. Вечка задняга сальніка з сальніка
2. Дэталі ўстаноўкі каленчатага вала прадстаўлены на ілюстрацыі.
43.2. Дэталі ўстаноўкі каленчатага вала 1. Укладыш карэннага падшыпніка для блока цыліндраў (з канаўкай); 2. Зорачка прывада модуля балансірнага вала; 3. Укладыш карэннага падшыпніка (без канаўкі); 4. Рэгулявальныя шайбы (для падшыпніка №3); 5. Болт мацавання вечка 6, 65 Нм, затым дацягніце на кут 90°, падлягае замене; 6. Вечка карэннага падшыпніка; 7. Ротар датчыка СКР; 8. Болт мацавання ротара 7, 10 Нм, затым дацягніце на кут 90°, падлягае замене; 9. Ігольчасты падшыпнік (толькі на мадэлях з РКПП); 10. Установачны штыфт; 11. Каленчаты вал
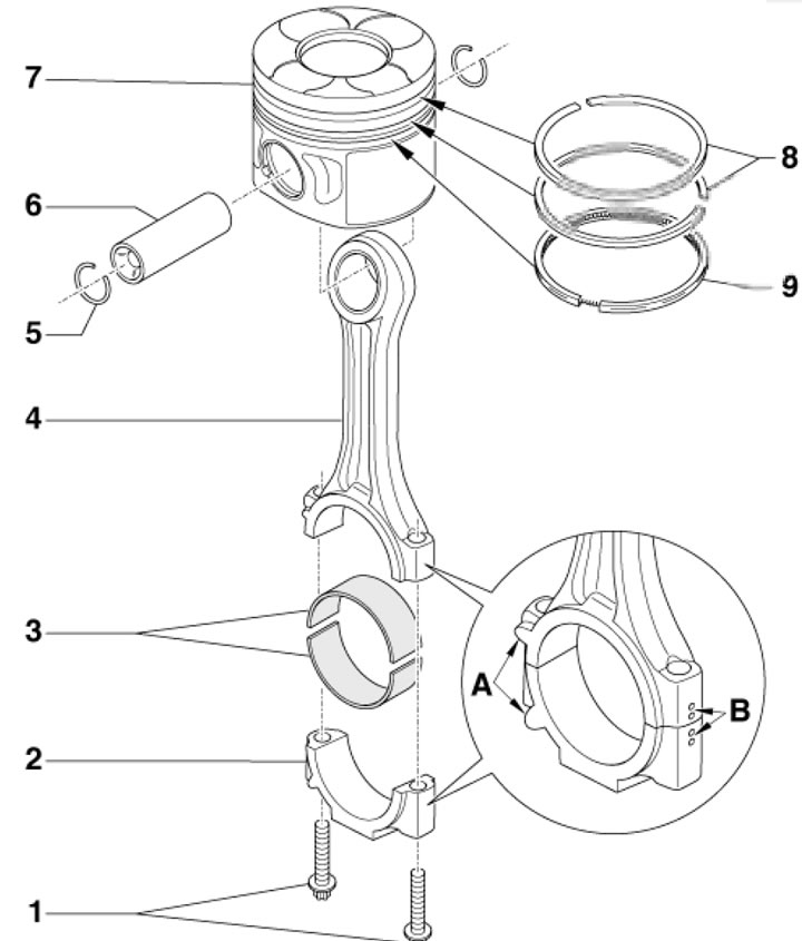
3. Дэталі шатунна-поршневай групы прадстаўлены на ілюстрацыі.
43.3. Дэталі шатунна-поршневай групы 1. Болт мацавання крышкі 2; 2. Вечка шатун падшыпніка з пазнакамі прыналежнасці да шатуна (У) і пярэдняга боку (А); 3. Укладышы шатун падшыпніка; 4. Шатун з пазнакамі (гл. пункт 2); 5. Стопарнае кольца; 6. Поршневай палец; 7. Поршань; 8. Кампрэсійныя кольцы; 9. Маслас'ёмнае кольца

Каментары наведвальнікаў