2. Адцісніце фіксатар дзяржальні (1 на ілюстрацыі) адвёрткай (3) і зніміце дзяржальню.
4.2. Зняцце дзяржальні стаяначнага тормазу
3. Зніміце вечка (4 на ілюстрацыі) і кажух (1).
4.3. Зняцце вечка (4) і кажуха (1)
4. Вывярніце балты (2 на ілюстрацыі) і зніміце трымальнік (1). Зніміце накладкі падлогі.
4.4. Зняцце трымальніка
5. Зніміце панэль дна на левым баку, вывярнуўшы 8 нітаў.
6. Зніміце ўнутраную панэль дна на выпускной трубе, аддзеліце заднюю частку выпускной трубы.
7. Зніміце тэрмаахоўны экран на заднім баку паліўнага бака.
8. Зніміце тэрмаахоўны экран задняга тунэлю і раз'яднайце раз'ём Д/В узвядзення рычага стаяначнага тормазу.
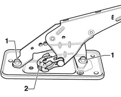
9. Вывярніце балты (1 на ілюстрацыі) і зніміце рычаг па кірунку ўніз.
4.9. Ніты (1) мацавання рычага
10. Аддайце фланцавыя гайкі (1 на ілюстрацыі) і аддзеліце рычаг (2) ад мантажнай пласціны.
4.10. Крапеж рычага на мантажнай пласціне
11. Прывядзіце рычаг у зыходнае становішча. Для гэтага зацісніце адзін з подпружиненных гакаў у цісках і адпусціце механізм адвёрткай (2 на ілюстрацыі), адначасова уціскаючы другі крук другой адвёрткай.
4.11. Прывядзенне рычага ў зыходнае становішча
12. Устаноўка вырабляецца ў паслядоўнасці, зваротнай парадку дэмантажу кампанентаў.
13. На мадэлях FWD увядзіце тросы ў зборку рычага да поўнай фіксацыі (гл. ілюстрацыю 3.10), а на мадэлях AWD устаўце тросы ў кампенсатар. У месцы скрыжавання трасоў трос (1) павінен праходзіць пад тросам (2).
14. Болт (3 на ілюстрацыі 4.9) і адаптар з шайбай (4) зацягвайце з намаганнем 25 Нм.
15. Далейшая ўстаноўка праводзіцца ў паслядоўнасці, зваротнай парадку дэмантажу кампанентаў. Пасля ўстаноўкі адрэгулюйце прывад стаяначнага тормазу (гл. Раздзел 5).

Каментары наведвальнікаў