Мадэлі FWD
1. Зніміце кансоль паміж пярэднімі сядзеннямі (гл. Главу 11).
2. Зніміце колы.
3. Зніміце панэль дна на задняй правай і задняй левай баках і адчэпіце тросы стаяначнага тормазу.
4. Зніміце панэль дна на левым баку, вывярнуўшы 8 нітаў.
5. Зніміце ўнутраную панэль дна на выпускной трубе, аддзеліце заднюю частку выпускной трубы.
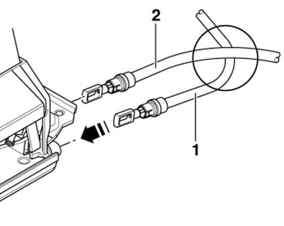
6. Выцягніце фіксатар (1 на ілюстрацыі) і адчэпіце тросы стаяначнага тормазу ад суппорта. Пры гэтым не пашкодзіце гумовыя ўшчыльненні трасоў.
3.6. Трасы стаяначнага тормазу на суппорце
7. Адчапіце тармазную трубку (2 на ілюстрацыі) ад трымальніка (3).
3.7. Тармазная трубка (2) на трымальніку (3)
8. Адчапіце трасы (1 на ілюстрацыі) стаяначнага тормазу ад паліўнага бака (2).
3.8. Трасы стаяначнага тормазу на паліўным баку
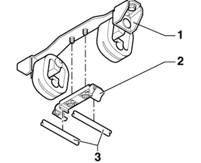
9. Адчапіце трасы (3 на ілюстрацыі) стаяначнага тормазу ад трымальніка (1). Калі будуць усталёўвацца новыя тросы, варта зняць рычаг стаяначнага тормазу і прывесці яго ў зыходнае становішча (гл. Раздзел 4).
3.9. Трасы стаяначнага тормазу на трымальніку
10. Увядзіце тросы ў зборку рычага да поўнай фіксацыі (гл. супр. ілюстрацыю). У месцы скрыжавання трасоў трос (1) павінен праходзіць пад тросам (2).
3.10. Трасы стаяначнага тормазу на рычагу
11. Замацуеце тросы ва ўказаных вышэй фіксатарах, дно і баку. Пры гэтым трос павінен размяшчацца на фіксатары ў вобласці, паміж кольцамі (4 на ілюстрацыі 3.9).
12. Замацуеце тросы на суппарце і ўстаўце фіксатар (1 на ілюстрацыі 3.6).
13. Пераканайцеся, што цэнтравальныя кольцы (1 на ілюстрацыі) на тросе знаходзяцца ўсярэдзіне фіксатараў на трымальніках. Ніты (2) зацягніце з намаганнем 25 Нм.
3.13. Палажэнне троса на трымальніках
14. Усталюйце знятыя кажухі і кансоль. Адрэгулюйце прывад стаяначнага тормазу (гл. Раздзел 5).
Мадэлі AWD
Заўвага: Рэгулявальныя элементы размешчаны спераду задніх ніжніх папярочных цяг.
15. Зніміце кансоль паміж пярэднімі сядзеннямі (гл. Главу 11).
16. Зніміце колы.
17. Аддзяліце заднюю частку выпускной трубы.
18. Зніміце тэрмаахоўны экран на заднім баку паліўнага бака і тэрмаахоўныя экраны задняга тунэлю (над і пад карданным валам).
19. Выцягніце фіксатар (1 на ілюстрацыі 3.6) і адчэпіце тросы стаяначнага тормазу ад суппорта. Пры гэтым не пашкодзіце гумовыя ўшчыльненні трасоў.
20. Адчэпіце трасы (1 на ілюстрацыі) ад трымальнікаў (3).
3.20. Трос стаяначнага тормазу ў трымальніку (3)
21. Адчэпіце трасы (3 на ілюстрацыі) ад трымальнікаў (2).
3.21. Трос стаяначнага тормазу ў трымальніку (2)
22. Адчэпіце трасы (1 на ілюстрацыі) ад трымальнікаў (2 і 4). Калі будуць усталёўвацца новыя тросы, варта зняць рычаг стаяначнага тормазу і прывесці яго ў зыходнае становішча (гл. Раздзел 4).
3.22. Трос стаяначнага тормазу ў трымальніках (2 і 4)
23. Замацуеце тросы на кампенсатары па аналогіі з ілюстрацыяй 3.6 (трасы не перакрыжоўваюцца).
24. Злучэнне фіксатара на трымальніку павінна размяшчацца паміж двума кольцамі (5 на ілюстрацыі 3.22) і заўсёды быць звернута да борта аўтамабіля. Зацягніце гайкі (3) з намаганнем 1.5 Нм і ўвядзіце трос у апору.
25. Замацуеце тросы на дно і баку, устаўце іх у рычаг на суппорце і замацуеце фіксатарам (гл. ілюстрацыю 3.6).
26. Цэнтруючыя кольцы (1 на ілюстрацыі 3.20) павінны знаходзіцца ўсярэдзіне фіксатараў на трымальніку. Зацягніце ніт (2) з намаганнем 25 Нм.
27. Усталюйце знятыя кажухі і кансоль. Адрэгулюйце прывад стаяначнага тормазу (гл. Раздзел 5).

Каментары наведвальнікаў