1. Адлучыце адмоўны кабель (-) акумулятарнай батарэі.
Перасцярога: Выконвайце ўказанні Раздзела Замена акумулятарнай батарэі.
2. Зніміце абіўку дзвярэй, звернецеся да Раздзела Зняцце і ўсталёўка абліцоўвання перадпакояў дзверы.
Высокачашчынны гучнагаварыцель у перадпакоях дзверы
1. Адцісніце назад адвёрткай 3 стопарныя планкі (2) і выньце высокачашчынныя гучнагаварыцелі (1).

2. Разлучыце раз'ём гучнагаварыцеля.
Высокачашчынны гучнагаварыцель у задняй дзверы
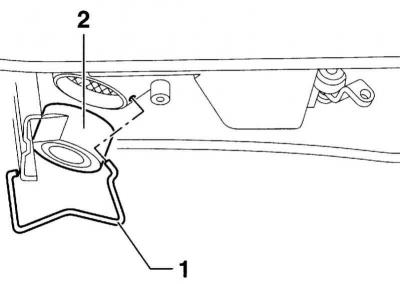
1. Асцярожна адлучыце ізаляцыйныя пліты са зваротнага боку абіўкі дзвярэй у раёне гучнагаварыцеля.
2. Адлучыце адвёрткай стопарны клямар (1).

3. Выміце гучнагаварыцель (2) з абіўкі.
Нізкачашчынны гучнагаварыцель
1. Вывярніце 3 вінты (1) і выньце нізкачашчынны гучнагаварыцель.

2. Разлучыце раз'ём гучнагаварыцеля.
3. Далейшая ўстаноўка выконваецца ў паслядоўнасці, зваротнай зняццю.
Гучнагаварыцель у панэлі прыбораў
Зняцце
1. Адлучыце адмоўны кабель (-) акумулятарнай батарэі.
Перасцярога: Выконвайце ўказанні Раздзела Замена акумулятарнай батарэі.
2. Вывярніце шрубу (1) і выньце з панэлі прыбораў паветранае сопла ў ветравога шкла.

3. Вывярніце 2 шрубы пад паветраным соплам і выміце з панэлі прыбораў гучнагаварыцель.
4. Разлучыце раз'ём гучнагаварыцеля.
Ўстаноўка
1. Устаноўка выконваецца ў паслядоўнасці, зваротнай зняццю.

Каментары наведвальнікаў