Ремонт Chevrolet Ремонт Toyota Ремонт Honda Ремонт AvtoVAZ Ремонт Mercedes-Benz Ремонт BMW Ремонт Opel
Главна  |  Контакти  |  Карта на сайта  |  Търсене:  
Български Русский
English
Беларускі
Український
Српски
Hrvatski
Română
Polski
Slovenský
Magyar
AudiManual.ru
 
 
 
 
 
 
 
 
 
 
  • AUDI 80
  • AUDI 100
  • AUDI A3
  • AUDI A4
  • AUDI A6
  • AUDI A8
  • AUDI Q
  • ДРУГИ
  • СТАТИИ
A2 (1999-2005)

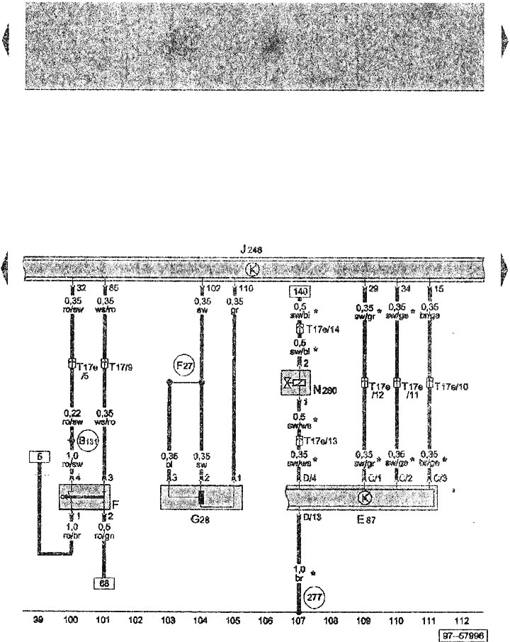
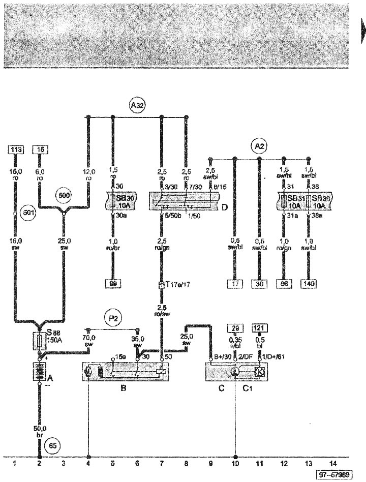
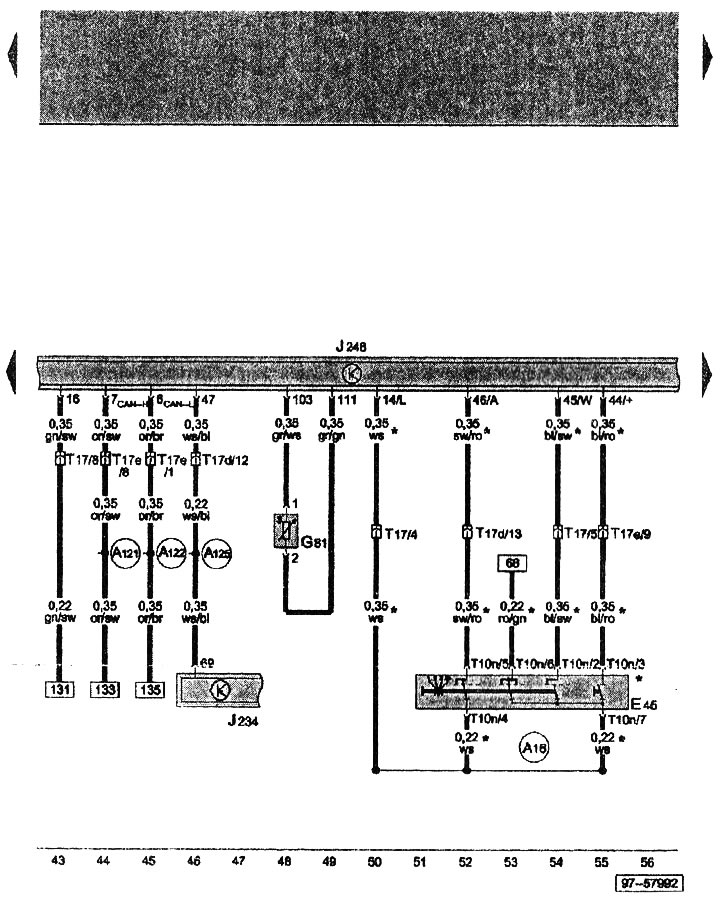
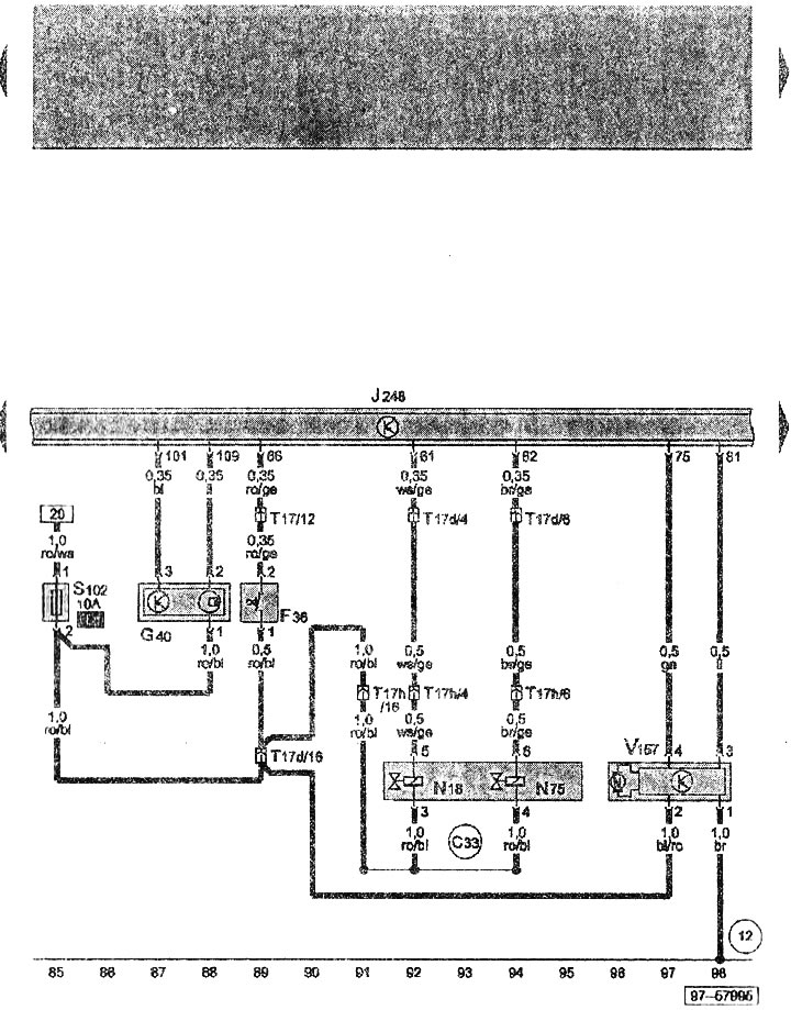
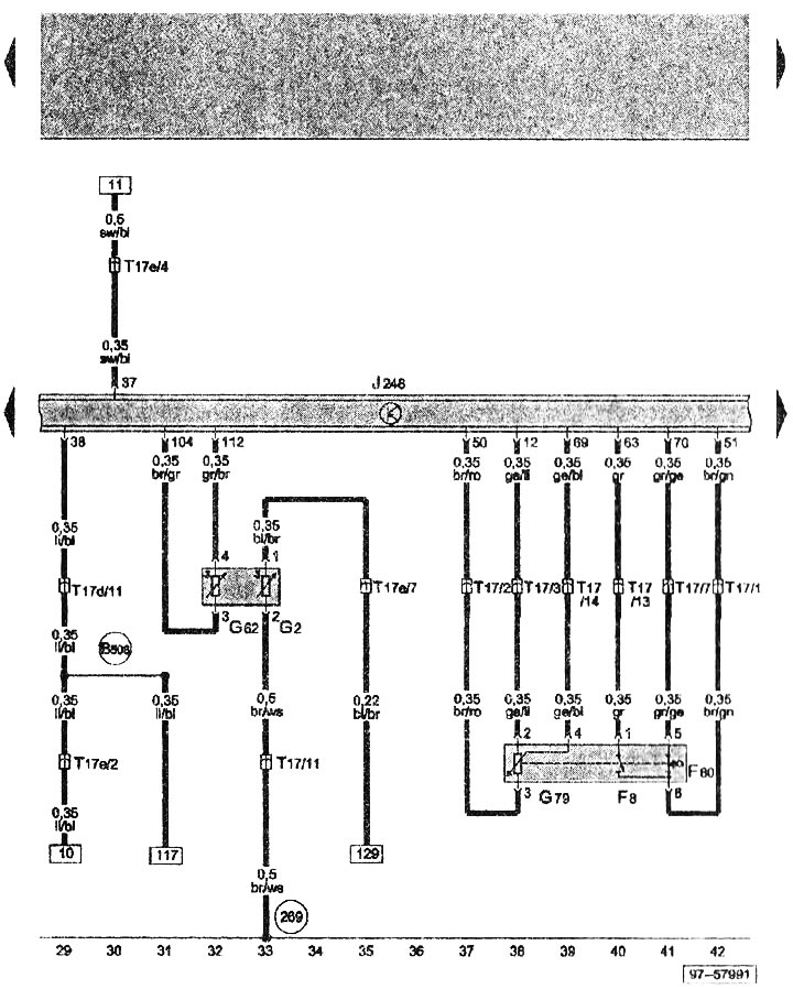
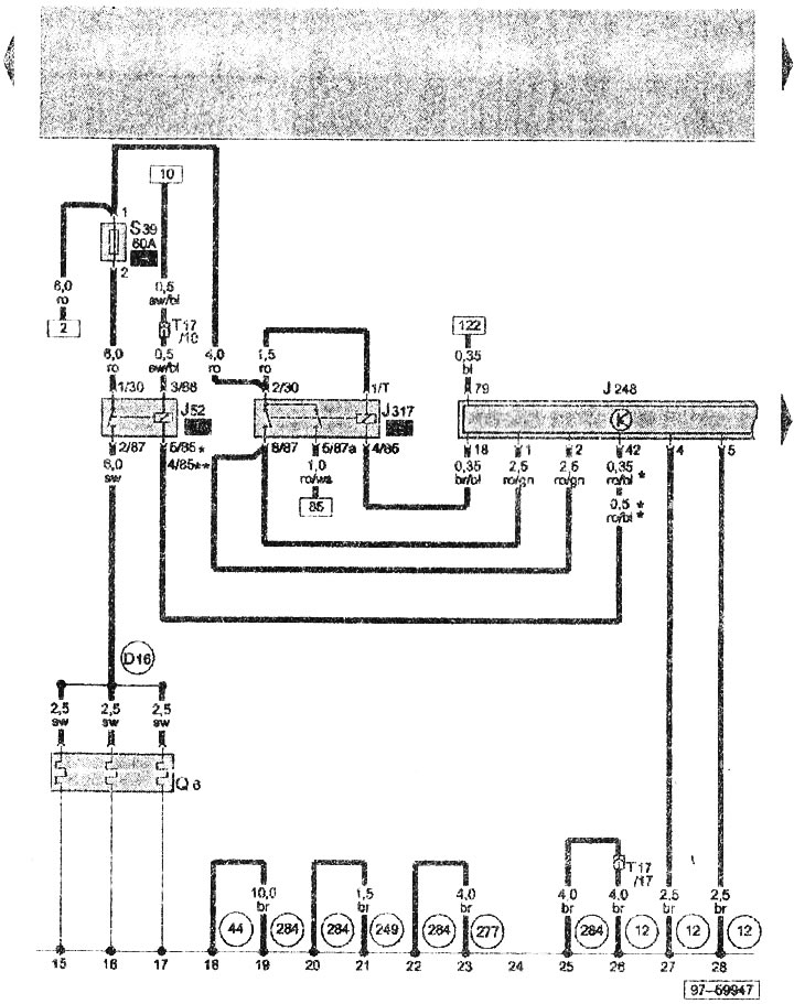
Електрическа схема на 1.4 литров дизелов двигател BHC (Audi A2)

  • Главна
  • Ауди
  • A2 (1999-2005)
  • Електрическо оборудване
  • Електрически схеми
  • Електрическа схема на 1.4 литров дизелов двигател ...
            0

Електрическа схема на 1.4 литров дизелов двигател BHC



Електрическа схема на 1.4 литров дизелов двигател BHC


Електрическа схема на 1.4 литров дизелов двигател BHC


Електрическа схема на 1.4 литров дизелов двигател BHC


Електрическа схема на 1.4 литров дизелов двигател BHC


Електрическа схема на 1.4 литров дизелов двигател BHC


Електрическа схема на 1.4 литров дизелов двигател BHC


Електрическа схема на 1.4 литров дизелов двигател BHC


Електрическа схема на 1.4 литров дизелов двигател BHC


Електрическа схема на 1.4 литров дизелов двигател BHC


Символите, използвани в диаграмите на електрическото оборудване, са тук →


Символите, използвани в диаграмите на електрическото оборудване, са тук →
Статията е проверена от автоексперт Даниил Ушаков
Тази статия е достъпна на руски, английски, беларуски, украински, сръбски, хърватски, румънски, полски, словашки, унгарски

Сподели информация:
Предишни статии
Audi A2: Електрически схеми
Следващи статии

Електрическа схема на 1,4 литров дизелов двигател ATL
Електрическа схема на 1,4 литров дизелов двигател AMF
Електрическа схема на 1.4 литров бензинов двигател BBY
Функционална схема на 1,4 л (55 kW) AUA двигател
Електрическа схема на 1.6 литров бензинов двигател BAD
Електрическа схема на отоплителна и климатична система
Символи, използвани в схемите на електрическото оборудване


Подобни статии за други модели автомобили Audi:
Електрическа схема на блока за управление на горивната система… Audi 80 B4 (1991-1996)
Електрическа схема на автомобили AUDI «100» с двигател «DR» 1983г Audi 100 C3 (1982-1990, бензин)
Смяна на горивен филтър на дизелов двигател Audi A3 Тип 8L (1996-2003)
Система за впръскване на гориво на дизелов двигател Audi A4 B6 (2000-2006)
Сваляне и поставяне на ангренажен ремък — Дизелов двигател… Audi A6 C5 (1997-2004)
Източване на вода от горивния филтър на V6 TDI дизелов двигател Audi A8 D2 (1994-2002)
Демонтаж на скоростна кутия — автомобили с 4-цилиндров дизелов… Audi Q5 Typ 8R (2008-2017)
Връзка към тази страница в различни формати
HTMLTextBB Code


Коментари на посетители


Без коментари все още


Колко ще 39 + 24 =
       



Audi A2(1999-2005) 
  • Обща информация
  • Въведение в ръководството
  • Поддръжка
  • Двигател 1.4 л (бензин)
  • Ремонт на двигател
  • Система за смазване
  • Охладителна система
  • Изпускателна система
  • Двигател 1.6 л (бензин)
  • Ремонт на двигател
  • Система за смазване
  • Охладителна система
  • Изпускателна система
  • Двигател 1.2 л (дизелов)
  • Ремонт на двигател
  • Система за смазване
  • Охладителна система
  • Впръскване и турбокомпресор
  • Двигател 1.4 л (дизелов)
  • Ремонт на двигател
  • Система за смазване
  • Охладителна система
  • Турбокомпресорна система
  • Захранваща система
  • Система за впръскване на гориво
  • Изпускателна система
  • Трансмисия
  • Ръчна кутия 02J
  • Ръчна кутия 02T
  • Ръчна кутия 085 DS
  • Шаси
  • Окачване на автомобил
  • Кормилно управление
  • Спирачна система
  • Каросерия
  • Екстериор
  • Интериор
  • Седалки
  • Врати, брави и прозорци
  • Система за сигурност
  • Отопление и климатизация
  • Електрическо оборудване
  • Захранващи устройства
  • Оборудване и инструменти
  • Чистачки и шайби
  • Осветление и лампи
  • Превключватели
  • Електрически схеми
 
AudiManual.ru © 2017-2025 · Мобилна версия · Обратна връзка · Карта на сайта: EN BG BY UA RS HR RO PL SK HU · Търсене в сайта · Новини и статии
80 B2 · 80 B3 бензин · 80 B3 · 80 B4 · 100 C3 дизел · 100 C3 бензин · 100 C3 · 100 C4 бензин · 100 C4 · A3 Тип 8L · A4 B5 бензин · A4 B5 · A4 B6 бензин · A4 B6 · A4 B7 · A6 C4 · A6 C5 · A6 C5 Allroad · A8 D2 · Q5 Typ 8R · Audi A2 · 0.122