Naprawa Chevrolet Naprawa Toyota Naprawa Honda Naprawa AvtoVAZ Naprawa Mercedes-Benz Naprawa BMW Naprawa Opel
Główna  |  Łączność  |  Mapa strony  |    
Polski Русский
English
Български
Беларускі
Український
Српски
Hrvatski
Română
Slovenský
Magyar
AudiManual.ru
 
 
 
 
 
 
 
 
 
 
  • AUDI 80
  • AUDI 100
  • AUDI A3
  • AUDI A4
  • AUDI A6
  • AUDI A8
  • AUDI Q
  • INNY
  • ARTYKUŁY
A2 (1999-2005)

Schemat elektryczny silnika benzynowego 1,4 litra BBY (Audi A2)

  • Główna
  • Audi
  • A2 (1999-2005)
  • Sprzęt elektryczny
  • Obwody elektryczne
  • Schemat elektryczny silnika benzynowego 1,4 litra BBY
            0

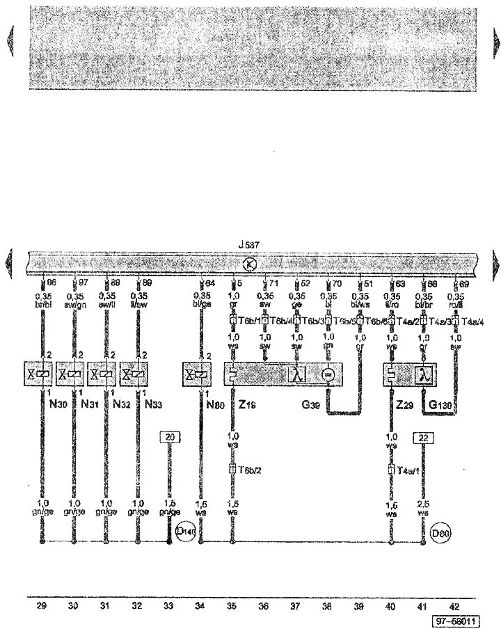
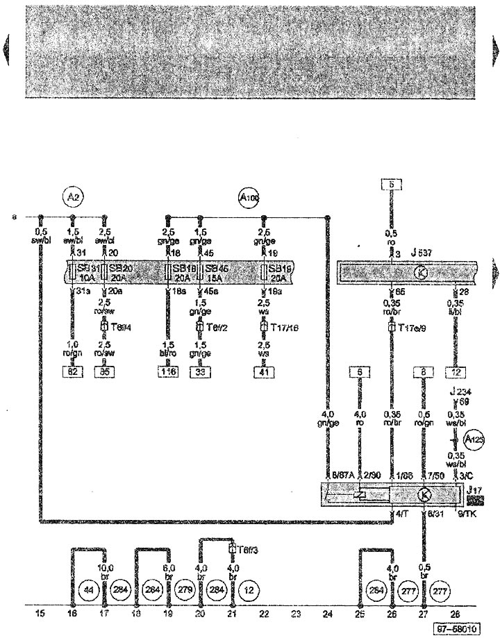
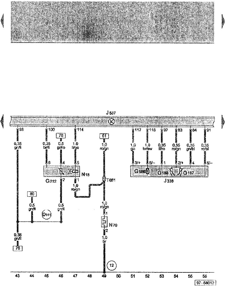
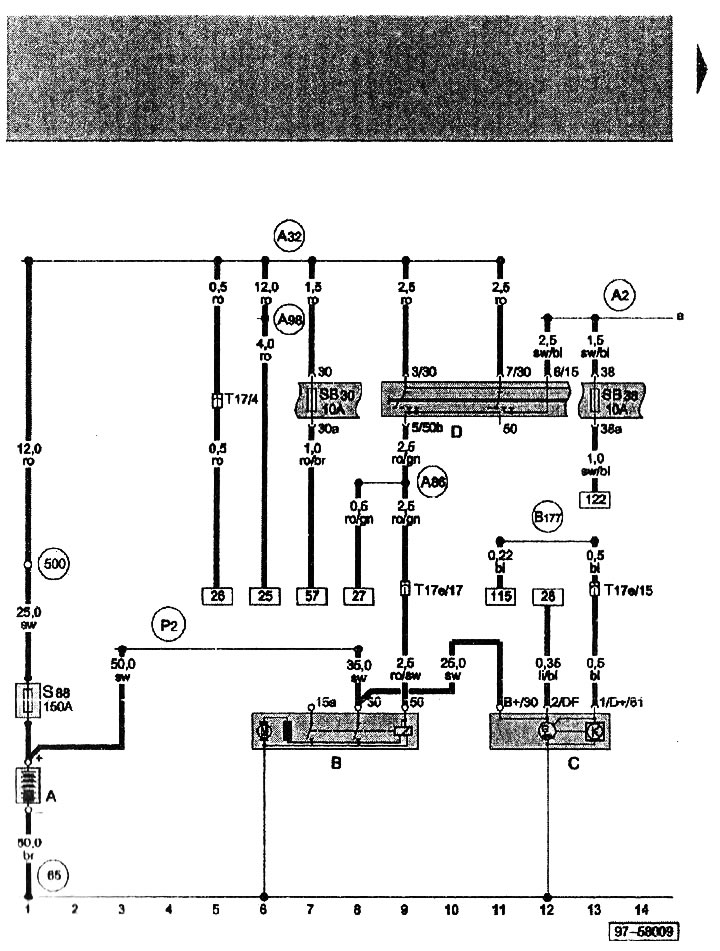
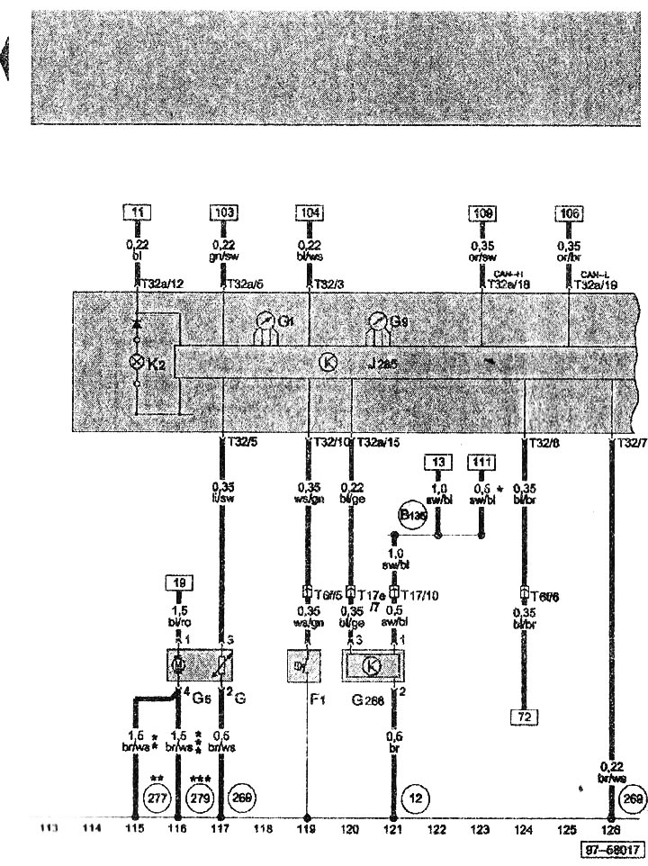
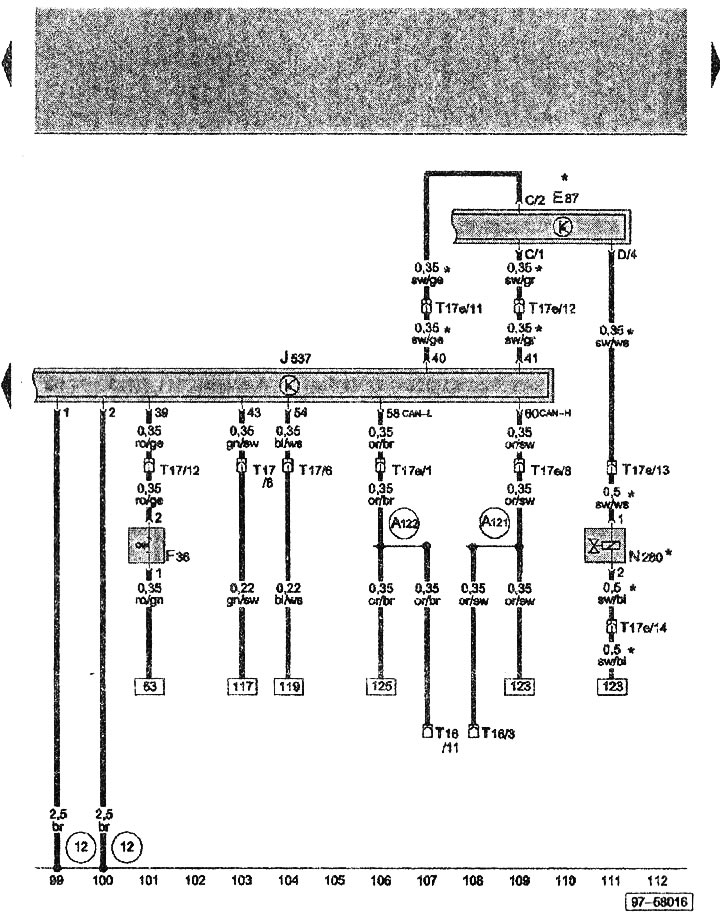
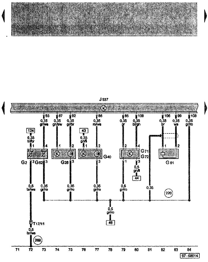
Schemat elektryczny silnika benzynowego 1,4 litra BBY



Schemat elektryczny silnika benzynowego 1,4 litra BBY


Schemat elektryczny silnika benzynowego 1,4 litra BBY


Schemat elektryczny silnika benzynowego 1,4 litra BBY


Schemat elektryczny silnika benzynowego 1,4 litra BBY


Schemat elektryczny silnika benzynowego 1,4 litra BBY


Schemat elektryczny silnika benzynowego 1,4 litra BBY


Schemat elektryczny silnika benzynowego 1,4 litra BBY


Schemat elektryczny silnika benzynowego 1,4 litra BBY


Symbole stosowane na schematach urządzeń elektrycznych to: tutaj →


Symbole stosowane na schematach urządzeń elektrycznych to: tutaj →

[Ta publikacja została zapożyczona z zasobu: Audimanual.ru]
Artykuł sprawdził ekspert motoryzacyjny Daniił Uszakow
Ten artykuł jest dostępny na rosyjski, angielski, bułgarski, białoruski, ukraiński, serbski, chorwacki, rumuński, słowacki, węgierski

Dzielić informacje:
Poprzednie artykuły
Audi A2: Obwody elektryczne
Kolejne artykuły

Schemat funkcjonalny silnika AUA o pojemności 1,4 l (55 kW)
Schemat elektryczny silnika diesla 1,2 litra ANY
Schemat funkcjonalny systemów komfortu
Schemat elektryczny podstawowej konfiguracji
Schemat elektryczny silnika diesla 1,4 litra AMF
Schemat elektryczny silnika diesla 1,4 litra ATL
Schemat elektryczny silnika wysokoprężnego 1,4 litra BHC
Schemat elektryczny silnika benzynowego 1,6 litra BAD


Podobne artykuły na temat innych modeli samochodów Audi:
Schemat elektryczny akumulatora, rozrusznika, generatora,… Audi 80 B4 (1991-1996)
Układ smarowania 6-cylindrowego silnika benzynowego Audi 100 C4 (1990-1994)
Uruchamianie silnika z pomocniczego źródła zasilania Audi A3 Typ 8L (1996-2003)
Działanie układu sterowania i wtrysku silnika benzynowego Audi A4 B6 (2000-2006)
Schemat elektryczny jednostki sterującej Motronic, czujników… Audi A6 C5 (1997-2004)
Miska olejowa i pompa olejowa do silnika benzynowego 2.8L Audi A8 D2 (1994-2002)
Numer silnika Audi Q5 Typ 8R (2008-2017)
Link do tej strony w różnych formatach


Komentarze gości

Brak komentarzy


Ile będzie 36 + 19 =
       



Audi A2(1999-2005) 
  • Informacje ogólne
  • Wprowadzenie do przewodnika
  • Konserwacja
  • Silnik 1,4 l (benzyna)
  • Naprawa silnika
  • System smarowania
  • Układ chłodzenia
  • Układ wydechowy
  • Silnik 1,6 l (benzyna)
  • Naprawa silnika
  • System smarowania
  • Układ chłodzenia
  • Układ wydechowy
  • Silnik 1,2 l (diesel)
  • Naprawa silnika
  • System smarowania
  • Układ chłodzenia
  • Wtrysk i turbodoładowanie
  • Silnik 1,4 l (diesel)
  • Naprawa silnika
  • System smarowania
  • Układ chłodzenia
  • Układ turbodoładowania
  • Układ zasilania
  • Układ wtrysku paliwa
  • Układ wydechowy
  • Transmisja
  • Skrzynia mechaniczna 02J
  • Skrzynka mechaniczna 02T
  • Skrzynka mechaniczna 085 DS
  • Podwozie
  • Zawieszenie samochodu
  • Układ kierowniczy
  • Układ hamulcowy
  • Karoseria
  • Zewnętrzny
  • Wnętrze
  • Siedzenia
  • Drzwi, zamki i okna
  • System bezpieczeństwa
  • Ogrzewanie i klimatyzacja
  • Sprzęt elektryczny
  • Urządzenia zasilające
  • Sprzęt i urządzenia
  • Wycieraczki i spryskiwacze
  • Oświetlenie i lampy
  • Wyłączniki i przełączniki
  • Obwody elektryczne
 
AudiManual.ru © 2017-2026 · Wersja mobilna · Informacja zwrotna · Mapa strony: EN BG BY UA RS HR RO PL SK HU · Wyszukiwanie w witrynie · Nowości i artykuły
80 B2 · 80 B3 Benzyna · 80 B3 · 80 B4 · 100 C3 diesel · 100 C3 benzyna · 100 C3 · 100 C4 Benzyna · 100 C4 · A3 Typ 8L · A4 B5 benzyna · A4 B5 · A4 B6 benzyna · A4 B6 · A4 B7 · A6 C4 · A6 C5 · A6 C5 Allroad · A8 D2 · Q5 Typ 8R · Audi A2 · 0.072
Ta strona używa plików cookie 🍪. Kliknij przycisk, aby zaakceptować ten fakt.