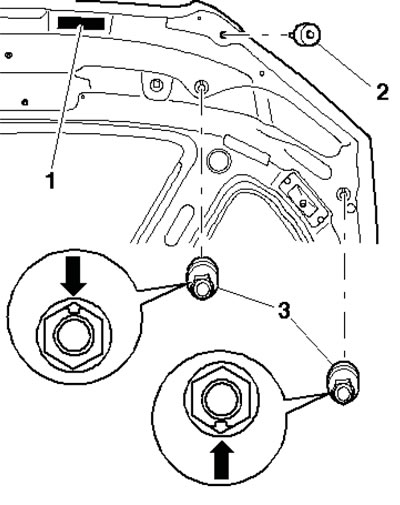
3.1. Дэталі ўстаноўкі капота 1. Капот; 2. Пятля капота; 3. Ніт з шайбай, 21 Нм; 4. Гайкі, 21 Нм; 5. Газанапоўненая стойка капота
Зняцце і ўстаноўка капота
2. Адлучыце ад капота шланг падачы якая абмывае вадкасці
3. Папытаеце памагатага ўтрымліваць капот ад падзення і адлучыце стойку ад капота (гл. падраздзел ніжэй).
4. Аддайце гайкі (4 на ілюстрацыі 3.1) і зніміце капот.
5. Устаноўка вырабляецца ў паслядоўнасці, зваротнай парадку дэмантажу кампанентаў. Пасля ўстаноўкі адрэгулюйце становішча капота (гл. падраздзел ніжэй).
Зняцце і ўстаноўка стойкі капота
6. Падопрыце капот або зафіксуйце яго ад зачынення.
7. Пры дапамозе адвёрткі злёгку прыпадніміце ўтрымлівальныя спружыны на абодвух канцах стойкі (гл. супр. ілюстрацыю) і зніміце стойку.
3.7. Спружына стойкі капота
8. Для ўсталёўкі уцісніце стойку ў шарнір (цыліндр знаходзіцца знізу, а поршань - зверху).
Рэгулёўка становішча капота
9. Выстаўце капот па цэнтры мёда крыламі, перамяшчаючы яго на завесах (гл. Спецыфікацыі).
10. Адрэгулюйце вышыню капота, як апісана далей.
11. Уцісніце абарону ад удару (1 на ілюстрацыі), вярніце буферы (3) у капот да ўпора, а затым вывярніце іх настолькі, каб капот знаходзіўся нараўне з крыламі. Пасля рэгулявання буферы (3) павінны абапірацца на трымальнік замка капота (буферы для абароны ад удару) павінны быць уціснутыя ў капот.
3.11. Буферы капота
Зняцце і ўстаноўка дэкаратыўнай рашоткі радыятара
12. Адпусціце трымальнікі (стрэлкі на ілюстрацыі) і нахіліце верхні бок рашоткі, а затым аддзеліце рашотку ўнізе.
3.12. Фіксатары замка капота а=1.5±0.5; b=0.7±0.5
13. Для палягчэння ўстаноўкі вышмаруйце поліўрэтанавае ўшчыльненне. Замацуйце рашотку ўнізе па цэнтры, а затым зафіксуйце яе верхні край. Зазоры павінны задавальняць паказаным на ілюстрацыі 3.12.
Зняцце, усталёўка і рэгуляванне замка капота і яго крука
14. Для зняцця крука (1 на ілюстрацыі) замка капота аддайце каўпачковыя гайкі (2). Пры ўсталёўцы зацягвайце гайку з высілкам 11 Нм. Далей апісваецца замак капота.
3.14. Крапеж крука замка капота
15. Адлучыце ад замка капота боудэнаўскі трос (гл. падраздзел ніжэй).
16. Вывярніце балты (2 на ілюстрацыі) і зніміце замак (1).
3.16. Крапеж замка капота
17. Устаноўка вырабляецца ў паслядоўнасці, зваротнай парадку дэмантажу кампанентаў. Ніты зацягвайце з высілкам 14 Нм.
18. Для рэгулявання капота ссуньце замак верх або ўніз.
19. Для рэгулявання стопарнага буфера на трымальніку замка капота (тонкае рэгуляванне пры рэгуляванні фар) укруціце ці вывярніце яго (гл. супр. ілюстрацыю).
3.19. Буфер на трымальніку замка капота
Трос прывада замка капота
20. Дэталі ўстаноўкі троса прадстаўлены на ілюстрацыі.
3.20. Дэталі ўстаноўкі троса прывада замка капота 1. Трос прывада замка капота; 2. Рычаг адпушчэння замка капота; 3. Болт, 2.4 Нм; 4, 6. Фіксатар; 5. Замак капота
21. Паддамкаркайце аўтамабіль і ўсталюеце яго на надзейныя падпоркі.
22. Зніміце локер пярэдняй колавай аркі (гл. Раздзел 2).
23.Зніміце рэчавае аддзяленне кіроўцы (гл. Частку Ў).
24. Вывярніце ніт (3 на ілюстрацыі 3.20), адцісніце фіксатар (4), вызваліце трос з замка і адчэпіце вуш (Ą).
25. Прыслабце фіксатары (6 на ілюстрацыі 3.20), выцягніце з іх трос (1) і ўцісніце яго ў колавую арку да трымальніка замка капота.
26. Устаноўка вырабляецца ў паслядоўнасці, зваротнай парадку дэмантажу кампанентаў. Ссуньце шар троса на замку капота ва ўсталявальнае становішча.

Каментары наведвальнікаў