7.1а. Дэталі ўстаноўкі прывада верхняга люка 1. Ніт з шайбай, 3 Нм; 2. Э/матор прывада вечка верхняга люка; 3. Рама; 4. Ветраахова; 5. Спружына ветрааховы, якая нахіляе
7.1b. Дэталі ўстаноўкі верхняга люка 1. Ссоўная шторка; 2. Спружына шторкі 1; 3/4. Ніжняе/верхняе аздабленне; 5. Вечка верхняга люка; 6. Ушчыльненне; 7. Болт, 1.5 Нм
Зняцце і ўстаноўка ветрааховы
2. Цалкам адкрыйце верхні люк.
3. Выцісніце ветраабарону (1 на ілюстрацыі) у напрамку стрэлкі з трымальніка (3). Зніміце ветраахову з люка ў кірунку да задка.
7.3. Зняцце ветрааховы
4. Размясціце спружыну (3 на супр.ілюстрацыі) вакол утрымліваючага штыфта ветрааховы (2) і ўстаўце спружыну ў канаўку ветрааховы.
7.4. Устаноўка ветрааховы
5. Ссуньце стопар (1 на ілюстрацыі 7.3) ветрааховы (2) да перада пад люкам, устаўце адзін утрымлівальны штыфт у трымальнік (3). На іншым боку націсніце на ветраабарону ў кірунку цэнтра аўтамабіля і ўчапіце другі ўтрымлівальны штыфт у трымальніку.
Зняцце і ўстаноўка шторкі
6. Зніміце панэль верхняга люка (гл. падраздзел ніжэй) і вывярніце ніт спружыннага фіксатара (1 на ілюстрацыі). На мадэлях з сонечнай батарэяй вывярніце ніт і зніміце накіроўвалую.
7.6. Ніт спружыннага фіксатара
7. Злёгку ссуньце шторку назад і вылучыце пярэдні спружынны фіксатар (1 на ілюстрацыі) да пераду. Ссуньце задні спружынны фіксатар да азадка і зніміце шторку.
7.7. Зняцце шторкі люка
8. Устаноўка вырабляецца ў паслядоўнасці, зваротнай парадку дэмантажу кампанентаў.
Зняцце і ўстаноўка аздаблення
9. Падніміце вечка верхняга люка і акуратна ссуньце назад сонцаахоўную шторку.
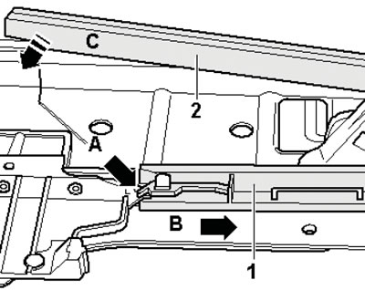
10. Адчэпіце ніжняе аздабленне (1 на ілюстрацыі) ззаду ў напрамку стрэлкі (А) з трымальніка і ссуньце наперад (У). Аддзеліце ніжняе аздабленне ад мантажнай накіроўвалай па кірунку да цэнтра аўтамабіля, адчэпіце аздабленне (2) спераду і ў цэнтры, аддзеліце яе ў кірунку стрэлкі.
7.10. Зняцце аздаблення верхняга люка
11. Цісніце ніжняе аздабленне (1 на ілюстрацыі) у верхні край (стрэлка) мантажнай накіроўвалай (2).
7.11. Мацаванне ніжняга аздаблення
12. Ссуньце ніжняе аздабленне (1 на ілюстрацыі) назад у напрамку стрэлкі, каб фіксатар увайшоў у зачапленне з прывадам (2). Уцісніце верхняе аздабленне ў накіроўвалую пласціну.
7.12. Ўстаноўка верхняга аздаблення
Зняцце, усталёўка і рэгуляванне панэлі верхняга люка
13. Зніміце аздабленне (гл. падраздзел вышэй), вывярніце балты Т25 (стрэлкі на ілюстрацыі) на абодвух баках і ссуньце панэль.
7.13. Крапеж панэлі верхняга люка
14. Устаноўка вырабляецца ў паслядоўнасці, зваротнай парадку дэмантажу кампанентаў. Перад зацягваннем крапяжу выстаўце панэль так, каб яна была нараўне з дахам. Пярэдні/задні бок панэлі можа быць адпаведна апушчаны/падняты не больш, чым на 1 мм.

Каментары наведвальнікаў