
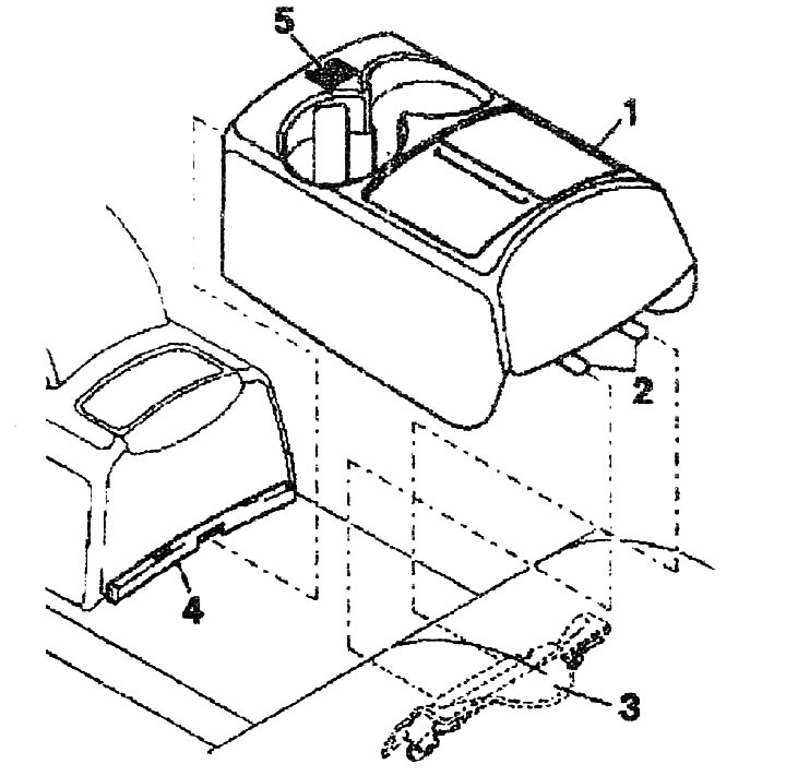
Снятие: нажать клавишу «5», при этом поднимая отсек «1» вперед вверх. Извлечь задний отсек «1» из крепления «3».
Установка: завести защелки «2» в крепление «3». Зафиксировать отсек «1» в креплении «4».
Снятие и установка переднего кронштейна заднего дополнительного отсека

Снять дополнительный задний отсек. Снять задний вещевой отсек. Выкрутить болты «2». Вытащить кронштейн «1» из задней центральной консоли «3».
Снятие и установка заднего кронштейна заднего дополнительного отсека

Снятие: снять дополнительный задний отсек. Снять заднее многоместное сиденье. Открутить винты «2» через отверстия в кронштейне.

Откинуть напольный коврик в области кронштейна «1» вперед. Нажатием фиксирующих защелок «2» отделить зажимы «3» от кронштейна.
Установка: завернуть зажимы «3» винтами «2». Нажатием зафиксировать кронштейн «1» сверху в зажимах «3» до их защелкивания.

Комментарии посетителей