2. Зніміце падушку бяспекі кіроўцы і рулявое кола (гл. Главу 10).
3. Зніміце рэчавы скрыню кіроўцы (гл. Раздзел 11).
4. Зніміце камбінацыю прыбораў (гл. Главу 12).
5. Зніміце галоўную рэчавы скрыню (гл. Раздзел 11).
6. Зніміце франтальную падушку бяспекі пярэдняга пасажыра (гл. Главу 12).
7. Зніміце цэнтральную кансоль і цэнтральную секцыю панэлі прыбораў (гл. Раздзел 11).
8. Націсніце на перамыкач кіравання асвятленнем і адначасова павярніце яго па гадзіннікавай стрэлцы, а затым выцягніце яго з гэтага становішча і раз'яднайце раздым.
9. Выцісніце праз якая ўтварылася адтуліна панэль перамыкача рэгулявання нахілу фар. Раз'яднайце раз'ём перамыкача.
10. Зніміце верхні кажух рулявой калонкі (гл. Раздзел 1).
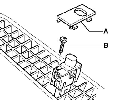
11. Паддзеньце накладку (А на ілюстрацыі), вывярніце ніт (У) і раз'яднайце раздым. Зніміце датчык сонца.
13.11. Зняцце датчыка сонца
12. Вывярніце ніт (1 на ілюстрацыі) і зніміце цэнтральны дэфлектар абдзіманне шкла.
13.12. Зняцце цэнтральнага дэфлектара абдзіманне шкла
13. Вывярніце балты (1 на ілюстрацыі), выцягніце дынамік, раз'яднайце раздым і зніміце дынамік.
13.13. Ніты мацавання дынаміка
14. Раз'яднайце раздымы левага і правага датчыкаў тэмпературы паветра на выхадзе кліматычнай сістэмы (гл. супр. ілюстрацыю).
13.14. Датчык тэмпературы на баку пярэдняга пасажыра
15. Зніміце левую канцавую накладку панэлі прыбораў і вывярніце вонкавыя ніты мацавання панэлі прыбораў (гл. супр. ілюстрацыю). Такой жа выявай вывярніце правыя вонкавыя ніты мацавання панэлі прыбораў.
13.15. Левыя вонкавыя ніты мацавання панэлі прыбораў
16. Вывярніце ніты мацавання панэлі прыбораў у вобласці камбінацыі прыбораў (гл. супр. ілюстрацыю).
13.16. Крапеж панэлі прыбораў у вобласці камбінацыі прыбораў
17. Вывярніце ніты мацавання панэлі прыбораў у вобласці цэнтральнай кансолі (гл. супр. ілюстрацыю) і зніміце панэль прыбораў.
13.17. Крапеж панэлі прыбораў у вобласці цэнтральнай кансолі
18. Пры неабходнасці аддайце паказаны на ілюстрацыі крапеж і зніміце бэльку панэлі прыбораў, папярэдне зняўшы замацаваныя на ёй дэталі.
13.18. Дэталі мацавання бэлькі панэлі прыбораў1. Кранштэйны; 2. Ніты, 3 шт., 23 Нм; 3, 5. Болт, 6 Нм; 4. Пракладка; 6. Бэлька панэлі прыбораў; 7. Ніты, 2 шт., 9 Нм; 8. Ніты, 2 шт., 23 Нм; 9, 10. Кранштэйны; 11. Болт, 9 Нм; 12. Гайка, 35 Нм; 13. Ніты, 2 шт., 8 Нм; 14, 20. Кранштэйн; 15, 17, 18, 22. Ніты, па 2 шт., 9 Нм; 16, 19, 21. Апора; 23, 25. Болт, 8 Нм 24 Болты, 2 шт., 9 Нм; 26. Гайка, 35 Нм
19. Устаноўка вырабляецца ў паслядоўнасці, зваротнай парадку дэмантажу кампанентаў.

Каментары наведвальнікаў